京东6.18大促主会场领京享红包更优惠

 找回密码
 立即注册

QQ登录

只需一步,快速开始

北京今年第五批拟供地清单公布!东二环外、CBD旁地块再上架

2024-11-2 19:40| 发布者: 京房字| 查看: 48| 评论: 0

摘要: 各位粉丝:去年年初,自然资源部要求各地建立拟出让地块清单公布制度,每次公开详细清单对应的拟出让时间段原则上不少于3个月。清单内的地块,各地在公开的拟出让时间段内可以一次或多次发布出让公告,有序组织出让

各位粉丝:

去年年初,自然资源部要求各地建立拟出让地块清单公布制度,每次公开详细清单对应的拟出让时间段原则上不少于3个月。清单内的地块,各地在公开的拟出让时间段内可以一次或多次发布出让公告,有序组织出让。

从今年9月开始,北京改为了每月公布一次供地清单。

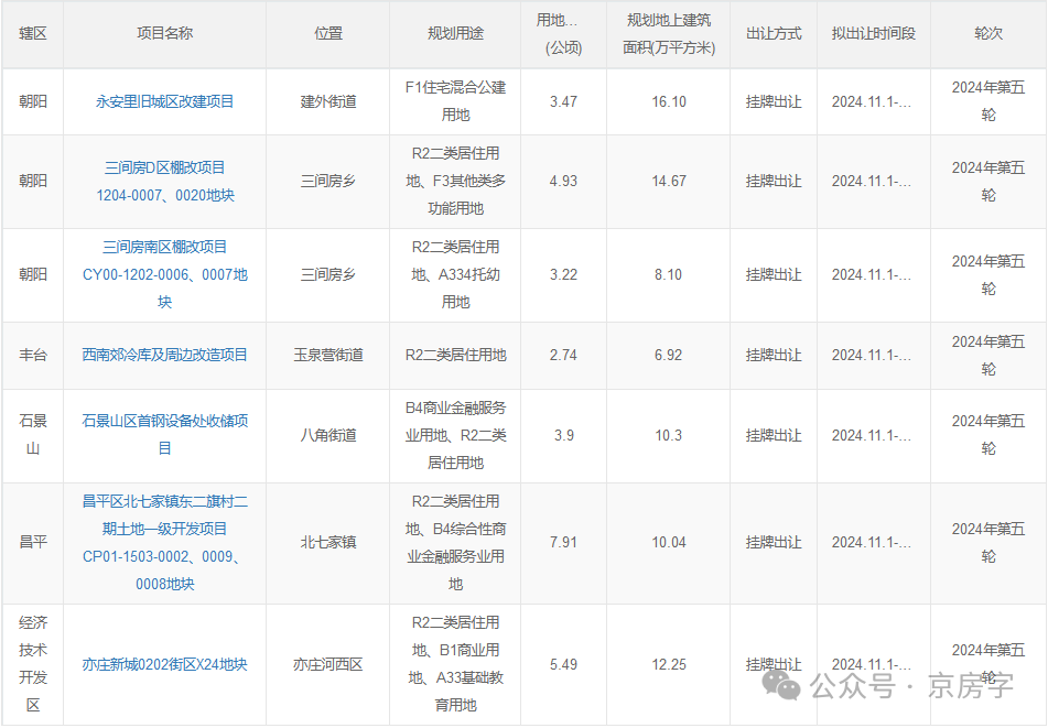
11月要供地的清单来了!市规自委昨天发布了年第五轮拟供应商品住宅用地清单,共涉及7宗地,土地面积约32公顷,建筑规模约78万平方米,这些地块将于本月30日前供应。

这次7个地块中,有5个都位于城六区,其中曾在今年第二批清单中的朝阳区永安里旧改项目,此次重新“上架”。

1

从推出地块看,这批供地的最大特点就是各地块的区位比较好、周边配套齐全、交通便捷,7个地块全部都是地铁站点1公里范围内的。

7个地块中位于中心城区的就有5个,分别位于朝阳、丰台、石景山区。郊区有两个,分别位于昌平区和经开区,也是购房需求比较旺盛的区域。

2

下面来看一下关注度大的几个地块。

这其中最受关注的无疑是朝阳区永安里旧城区改建项目。这个地块曾经在今年6月的第二批清单中公布过,但后来并未入市。此次则是重新“上架”。

这个地块的位置确实太好了,它位于东二环建国门桥和东三环国贸桥之间,长安街二环外段的建国门外大街南侧,紧邻地铁永安里站(约100米),西侧是双子座大厦,距国贸地区的CBD核心区很近,又比CBD核心区更靠里。确实是个寸土寸金的区位。

根据公布的信息,该地块用地面积3.47万平米,建筑规模16.1万平米

朝阳区东五环外、挨着朝阳北路的三间房地区这次有两个地块入市。其中三间房D区棚改项目往北是6号线黄渠站,往南是八通线双桥站,地铁直达朝阳大悦城、龙湖天街等商业。

该地块用地面积4.93万平米,建筑规模14.67万平米。

另一个三间房南区棚改项目则要离地铁站更近一些,紧邻地铁6号线褡裢坡站,交通非常便捷。该地块用地面积3.22万平米,建筑规模8.1万平米。

丰台区的西南郊冷库及周边改造项目区位也很好。地处二环和三环之间,丽泽金融商务区的南侧,玉泉营桥附近。周边有地铁10号线、19号线、大兴机场线的换乘站草桥站。

另外几个地块,有石景山区首钢设备处收储项目,昌平区北七家镇东二旗村项目,经开区X24项目。这几个地块在入市供应时我们再给大家详细介绍。


来源:https://view.inews.qq.com/k/20241102A034V100
免责声明:如果侵犯了您的权益,请联系站长,我们会及时删除侵权内容,谢谢合作!

最新评论

QQ|手机版|小黑屋|梦想之都-俊月星空 ( 粤ICP备18056059号 )|网站地图

GMT+8, 2026-3-31 20:19 , Processed in 0.043538 second(s), 19 queries .

Powered by Mxzdjyxk! X3.5

© 2001-2026 Discuz! Team.

返回顶部